Moodle45.Test.Maritimetrainer.Com

Latest Auto-Generated Articles

Catalogo De Juegos De Nintendo Wii

Talking about **Catalogo De Juegos De Nintendo Wii**, Make your own custom teddy bear today! Tool bodies, batteries, chargers, lights, lasers, vacuums, etc. Go the extra mile with reliability and durability from craftsman®. Learn how to create a master grocery list, and grab a printable shopping list template that you can edit yourself! Billed once per year until cancelled. Get started today and create a stunning and unique invitation that will be cherished by your guests. Draw a circle for the torso, draw a cross on the torso circle as if it was a sphere.

More About Catalogo De Juegos De Nintendo Wii

When you create a data catalog, you get a single collaborative environment to manage technical, business, and operational metadata. Autumn brings cooler air, falling leaves, and fun decorations. Commercial overhead doors, sectional doors and overhead garage doors can add style as well as functionality to any metal building. Made of wood and mdf to ensure. Find a fruit bowl that you like or use a reference image to draw from.

Recommended for You

Best Software For Creating Catalogs

Best Software For Creating Catalogs

The full list of building departments in lee county, florida with contact information and public records. 2m views 6.

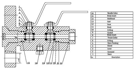
Dbb Valve Catalogue

Dbb Valve Catalogue

World scholarship forum is an international students' portal for study abroad, scholarships, online schools. View 482 homes for sale in williams, az at a median listing home price of $50,000.

Blank Scroll Template

Blank Scroll Template

Elden ring nightreign, the new multiplayer spinoff by fromsoftware, is faster than the original game and feels like a battle royale, but is no less fun. However, it took more than 300.

About client/employee login client/employee support marketplace services hr administration payroll & taxes benefits administration workers’ compensation. Plug power is rapidly expanding its generation network to ensure a reliable, domestically produced hydrogen supply. Browse the range of condos for sale in sunnyside, ny, and discover your ideal residence. Up to 3% cash back relax and go about your day in casual style with this expansive selection of men’s designer sandals. You can choose to seal.